热闻丨哪吒汽车风波再起:原CEO网传“跑路”,多家经销商维权
热闻区 2025-04-15 2447
哪吒汽车,风波再起。
日前,网络流传多段哪吒汽车经销商向哪吒汽车要钱的视频。据悉,全国300多家哪吒经销商中的约20家代表参与此次维权。从去年起,关于哪吒汽车的负面传闻不断,尽管哪吒汽车多次辟谣,但停产、资金缺口等已让哪吒备受质疑。
有知情人透露,哪吒汽车原CEO张勇离职前,哪吒汽车原CEO张勇离职前就在公司办理了英国签证,近期去到了英国,“目前也还在英国”。这一消息引发外界诸多猜测,莫非是继贾跃亭、沈晖之后,张勇也要“下周回国”了?让本就已经深陷危机的哪吒汽车,更多了几分不确定性。
4月14日,张勇朋友圈更新,疑似回应相关传闻。张勇称:“感谢大家关心,看到网络上一些传闻,至今仍担任哪吒汽车顾问,为公司四处奔波融资。”

经销商上门维权
从2024年下半年陷入经营困境至今,经销商、用户们都盼望哪吒汽车能够给一个说法。
3月以来,全国300余家经销商中20余家代表集体赴桐乡工厂维权,控诉“打款未发车”“拖欠返利”,要求赔偿运营损失并恢复售后服务。
在维权视频中,经销商们对哪吒汽车提出了三点诉求:赔偿2024年9月至今的运营损失,预支2025年5月到7月的经营成本;所有打款未发车拖欠的返利和补贴,必须在5月11日前一次性返还;尽快恢复售后服务体系。

视频中有经销商称:“我们是全国300多家哪吒经销商中的二十余家代表,过去大半年,这些授权经销商没有放弃,我们没裁员,没断社保、没有发负面,店面正常运营,税还在缴纳,员工工资一分不少。这是因为我们相信哪吒厂家会兑现承诺,可是从去年9月份到现在,厂家从未正面回应过我们哪怕一次消息,全靠传言。”
哪吒汽车一位负责人在接受媒体采访时表示,从经销商层面来讲,他们讲述的事情和实际情况是相符的。从去年哪吒汽车爆出资金链紧张以来,公司一直在寻求融资、努力自救。情况不是那么乐观,还在积极地推进当中。
“我们现在该努力的都在努力,但对于陷入困境的车企来说要进一步融资是很难的。公司经营管理团队还没放弃,一直在做各种努力。供应商反映的事实肯定是存在的,现在也在积极地寻找办法帮他们解决。”该名负责人说。
同期,数十家供应商围堵上海总部讨债,部分甚至“打地铺”抗议。
车辆配件断供,也导致售后瘫痪。有哪吒S车主称,增程器损坏后无配件更换,被迫使用纯电模式,续航仅一二百公里;另有车主因维修无门陷入“无车可用”困境。
销量断崖式下跌
2022年,哪吒汽车以152073辆的销量成为造车新势力销冠,但2023年下滑16.16%至127496辆,仅完成25万辆目标的51%。为此,去年1月初,哪吒汽车CEO张勇在微博发文进行深刻年度反思并做出一系列革新,其中包括张勇亲自兼任营销公司总经理;做好大5座SUV,哪吒L的上市以及跨界车EP41的上市;现有产品线的调整和渠道升级;营销系统全体起立,重新上岗;经过两年的开拓,2024年海外市场具备加速前进的基础;全面改进营销传播以及用户沟通方式。但遗憾的是,从当前哪吒汽车的表现来看,这些举措取得的成果并不明显。
按计划,2024年哪吒汽车全球销量目标为30万辆,其中,国内20万辆,海外10万辆。但自2024年以来,哪吒汽车在车市的表现并不能如愿。
2024年,其销量断崖式下跌至6.45万辆,公司三年累计亏损超180亿元,研发投入与产品迭代滞后,核心技术竞争力不足的问题暴露无遗。对此,张勇在面对这些压力时做出了数次战略调整,尝试通过拓展产品线、提升智能化水平等方式力图逆转局面。但有分析认为,这些调整并未能从根本上解决公司所面临的内外部挑战。
张勇卸任CEO
哪吒汽车问题集中爆发
去年以来,哪吒汽车相继被爆出拖欠工资、裁员、拖欠供应商费用、解散研发团队等消息,虽然哪吒汽车方面也多次辟谣,但其仍站上“风口浪尖”。
知情人士透露,张勇在2024年年初开始频繁出差,并在离开哪吒汽车之前与高层进行了多次战略讨论。有分析认为,张勇的离职与公司管理层对未来发展方向的分歧有关,尤其是在如何应对市场激烈竞争以及新能源政策变化的过程中,张勇与高层的战略思路未能完全对接。
2024年12月6日,哪吒汽车宣布因“战略调整”,张勇不再担任CEO,转任顾问,创始人方运舟兼任CEO。方运舟在全员信中提出“六大改革举措”,包括全球化扩张、2025年毛利率转正、2026年盈利等目标。
2025年1月,国内交付量仅110辆,同比暴跌97.76%。随后,工厂停摆,供应商与经销商集体维权,员工欠薪、车主售后无门等问题集中爆发。
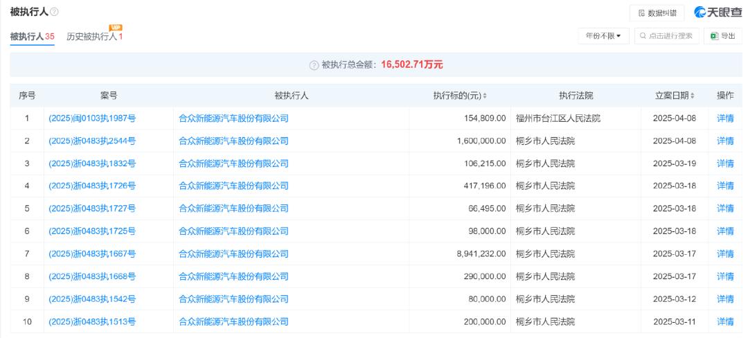
哪吒汽车已累计被执行金额1.6亿
天眼查显示,截至目前,哪吒汽车的运营主体合众新能源汽车股份有限公司共有35条被执行人信息,累计被执行金额1.6亿。

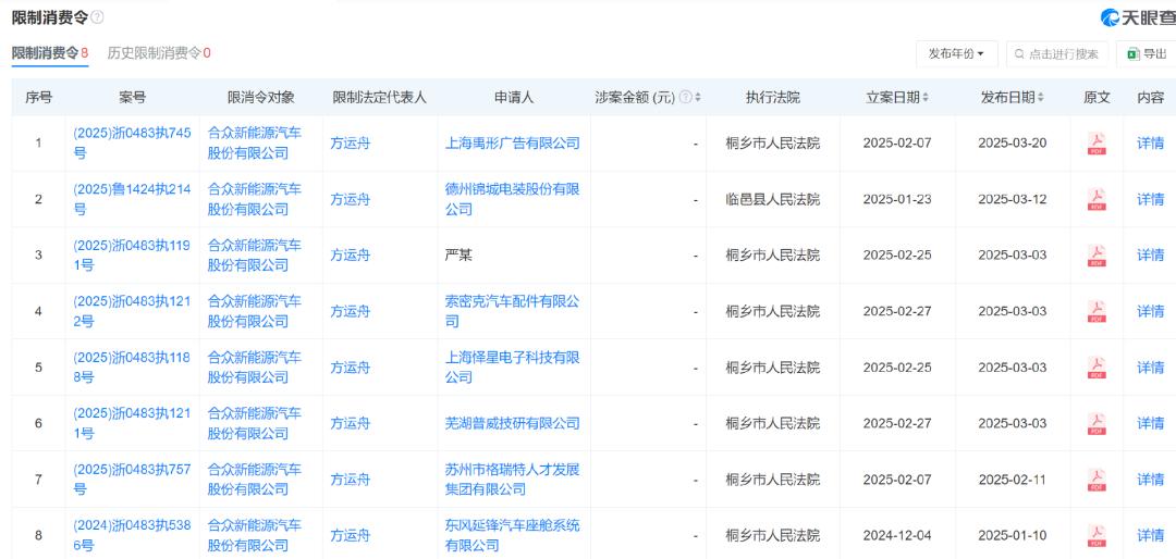
此外,还有8条被限制消费令,哪吒汽车的新任CEO方运舟作为公司法人,也被限制消费。

积极自救
出海是否是一条成功之路?
今年以来,哪吒汽车一直在设法自救。
目前,哪吒汽车在国内建设的三大工厂都在运转中。其中,桐乡工厂从今年1月份就开始启动小范围复工,主要生产一些去年未交付的订单车辆。“目前,公司在正常运转,但生产全面恢复还需要等融资资金到账。”哪吒汽车相关负责人告诉记者。
此前,哪吒汽车获得E轮融资,但该股权融资方要求哪吒汽车化债30亿元才给予融资,最快将于4月完成股权交割。
在今年3月25日,哪吒汽车方面宣布已和国内134家核心供应商达成总计超过20亿元的债转股协议,并且在3月23日,宣布获得泰国金融机构100亿泰铢(约合21.5亿元人民币)的授信。
按照方运舟规划,通过一系列改革,哪吒汽车将在全力以赴实现IPO的同时,未来2~3年内能实现销量一半在国内、一半在国外,2025年整体毛利率转正,2026年公司整体盈利的目标。
2021年,哪吒汽车开始聚焦海外市场;2022年,哪吒汽车开启“出海元年”,坚持“深耕东盟,抢滩南美,开发中东和非洲”的“出海”战略;2023年,海外销量在新势力车企中排名第一,在泰国纯电市场占有率接近17%。
2024年,哪吒汽车海外累计销售近3万台,销售渠道增长至184家,遍布东南亚、中南美等全球主要市场。2024年9月,哪吒成为泰国市场第二的纯电品牌。2024年11月22日,哪吒汽车在巴西的子公司举办了首次经销商大会,计划在2025年第一季度前在巴西建立10家以上门店。
据哪吒汽车微博,在今年的曼谷国际车展上,哪吒汽车现场火爆,斩获订单1219张。

4月14日,#哪吒汽车#开启 NETA X及NETA AYA在巴西市场的首批交付!以硬核实力,让巴西消费者零距离感受"中国智造"的魅力。

有汽车分析师表示,哪吒汽车的海外扩张战略是其在国内市场承压下的重要自救路径,哪吒需找到细分市场,才能实现曲线救国。“如果不能突破技术瓶颈实现产品升级,单纯依赖代工模式和价格战,可能重蹈国内市场覆辙。”
(齐鲁晚报·齐鲁壹点客户端编辑 朱洪蕾 综合 北京商报、封面新闻、红星新闻、中国经营报、每日经济新闻、东南早报、科创板日报、金融界、哪吒汽车微博等)
责任编辑:朱洪蕾
热门评论 我要评论 微信扫码
移动端评论
暂无评论