恒大地产、新力地产、富力地产被强制执行 恒大被执行48.8亿
大众报业·齐鲁壹点 2024-11-02 4.1万
据天眼查法律诉讼信息显示,近日,恒大地产、新力地产、富力地产分别被执行48.89亿元、7亿元以及1.8亿元。
信息显示,新力地产集团有限公司新增2条被执行人信息,执行标的合计7亿余元,涉及票据追索权纠纷、金融借款合同纠纷案件,部分案件被执行人还包括惠州市华创盈达房地产开发有限公司、惠州市盈达华创房地产有限公司等,执行法院为广东省惠州市中级人民法院、上海市普陀区人民法院。
据了解,新力地产集团有限公司成立于2017年3月,法定代表人为张良剑,注册资本32亿人民币,由江西新力企业管理有限公司全资持股。天眼风险信息显示,该公司现存50余条被执行人信息,被执行总金额超103亿元,此外还存在多条股权冻结、失信被执行人(老赖)和终本案件信息。

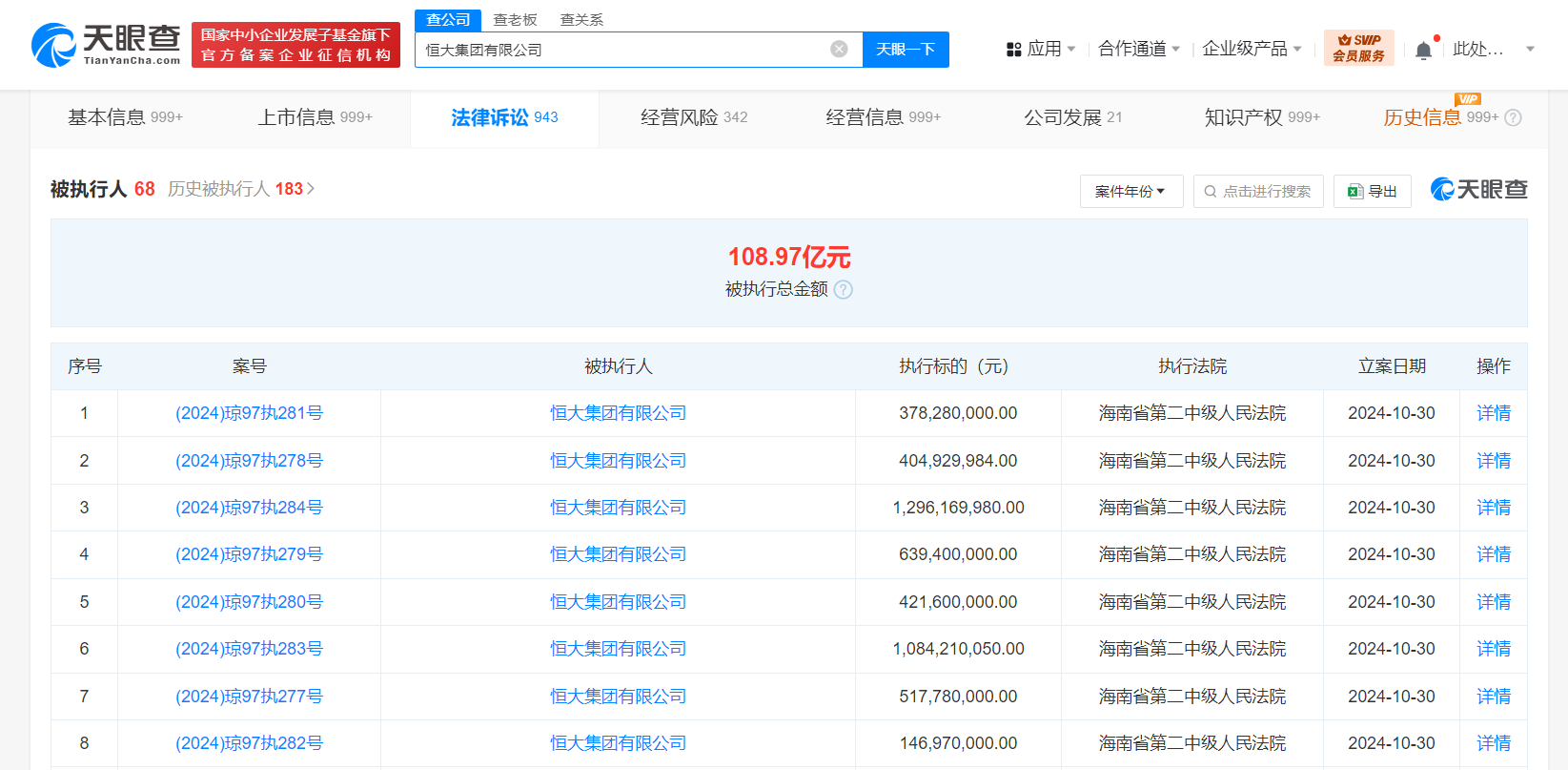
此外,10月30日,恒大集团有限公司新增8条被执行人信息,执行标的合计48.89亿余元,涉及金融借款合同纠纷案件,被执行人还包括儋州恒乐文化发展有限公司、儋州信恒旅游开发有限公司等,执行法院为海南省第二中级人民法院。风险信息显示,恒大集团有限公司现存68条被执行人信息,被执行总金额超108亿元。此外,该公司还存在多条限制消费令、失信被执行人(老赖)和终本案件信息。


天眼风险信息显示,恒大地产集团有限公司现存680余条被执行人信息,被执行总金额超735亿元。此外,该公司还存在多条限制消费令、失信被执行人(老赖)及终本案件信息。
天眼查法律诉讼信息显示,10月29日,富力地产(HK.02777)、北京富力城房地产开发有限公司、大同富力城房地产开发有限公司新增1条被执行人信息,执行标的1.8亿余元,执行法院为大同市平城区人民法院。广州富力地产股份有限公司现存100余条被执行人信息,被执行总金额超168亿元。此外,该公司还存在多条股权冻结、失信被执行人(老赖)及终本案件信息。
责任编辑:季明智
热门评论 我要评论 微信扫码
移动端评论
暂无评论