潍坊长安铁塔连续被执行,数额近2500万元
大众报业·齐鲁壹点 2023-08-02 8597
记者 刘阿龙
近日,记者从中国执行信息公开网获悉,潍坊长安铁塔股份有限公司因买卖合同纠纷等问题,分别被青州市人民法院和安丘市人民法院强制执行3次,数额共计2487.8091万元。



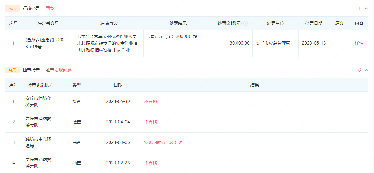
此前,该公司因生产经营单位的特种作业人员未按照规定经专门的安全作业培训并取得相应资格,上岗作业,被安丘市应急管理局罚款30000元。在近期相关部门的抽查检查中,该企业基本为不合格状态。

公开信息显示,潍坊长安铁塔股份有限公司1994年04月14日成立,经营范围包括角钢塔、钢管塔、组合跨越塔、钢结构、输电线路金具等电力设备的开发制造、销售及提供相关试验、技术咨询服务等。
产经新闻爆料电话0531-85193242
责任编辑:刘阿龙
热门评论 我要评论 微信扫码
移动端评论
暂无评论